引領潮流!蘋果將 AirPods 充電盒變時尚配飾
美國 Apple 公司近期的研究項目可能會帶來一個令人期待的改變,那就是將 AirPods 充電盒打造成手鐲和項鍊的設計。這項創新,如果成功實現,將使得我們熟悉的 AirPods 充電盒,能夠以手鐲或項鍊的形式佩戴。
AirPods的新概念設計:手鐲和項鍊
AirPods 以其輕巧小巧的設計而聞名,帶來了身臨其境的音樂體驗。然而,當我們將耳機取出耳朵時,它們很容易遺失,因為它們的體積相對較小。為了解決這個問題,AirPods 附帶了充電盒,不僅讓你更好地管理耳塞,還能夠延長使用時間。
跨界設計:AirPods充電盒手鐲和項鍊
然而,即使有充電盒,我們仍然需要確保將 AirPods 放回盒子裡,並經常保持使用狀態。最近蘋果獲得的專利,關注的正是這個問題。這項專利描述了一種「無線耳機配件」,而其中最引人注目的設計,是將充電盒變成可以佩戴的手鐲和項鍊。
創新專利:打造便攜的耳機配件
蘋果的專利涵蓋了多種充電方案,旨在提供一種便攜且舒適的方式,方便使用者在不需要耳機時存放它們。該專利指出:「儘管一些便攜式電子設備可以放在口袋或手提包中,但有些活動不適合使用這些方式,例如在慢跑或運動時使用耳機聆聽音樂。」
跨界設計的挑戰與創新
蘋果的目標是在不需要使用 AirPods 時,能夠方便地將它們放在一個舒適的位置。為了實現這一目標,他們提出了一個創新的解決方案,即將充電盒設計成手鐲和項鍊。
多種設計方案:手鐲、項鍊、鑰匙圈
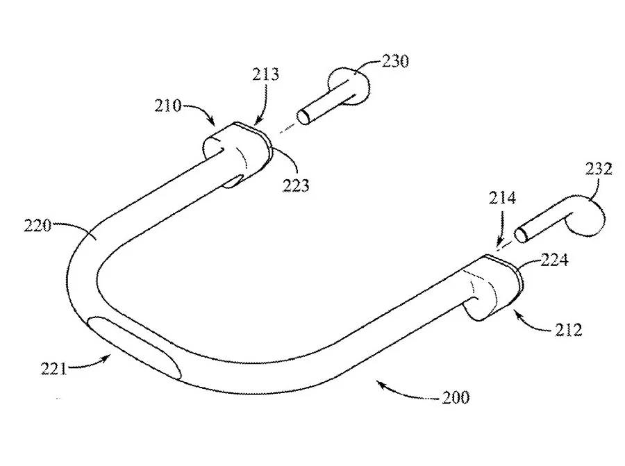
蘋果的專利文件描述了不同的設計方案。一種可能的設計是將充電盒設計成一個開放的 U 形,耳塞可以插入兩端。然而,這種設計可能會使耳塞易於掉落,因此另一種更安全的方案是將 U 形設計成一個大 O 形,類似於項鍊,並且可以固定兩端。
提升功能:燈光指示和鑰匙圈附件
此外,專利文件中還提到了其他的設計改進。其中一個版本的設計中,充電盒可能會加入燈光指示,用來顯示充電水平。此外,還有一個小巧的配件,可以將 AirPods 固定在普通的鑰匙圈上,增加了便攜性和易用性。
結語
蘋果的這項專利揭示了他們對於提升 AirPods 使用體驗的承諾。將充電盒設計成手鐲和項鍊的創意,不僅解決了耳塞的存放問題,還將充電盒的功能拓展到更多可能性。如果這項研究項目成功實施,我們可能很快就能夠在時尚和功能性的手鐲或項鍊中佩戴我們的 AirPods,享受音樂和便捷。
Copyright © 2023 愛瘋日報
轉載請註明出處
轉載請註明出處
相關文章:



